ALBAWABA – While Apple fans are expecting the next MacBook line-up to come with the upcoming M3 chip, the US Patent and Trademark Office has just granted Apple a new patent that might revolutionize the infamous laptop design by bringing an advanced Apple Pencil to the setup with a set of first-ever features.
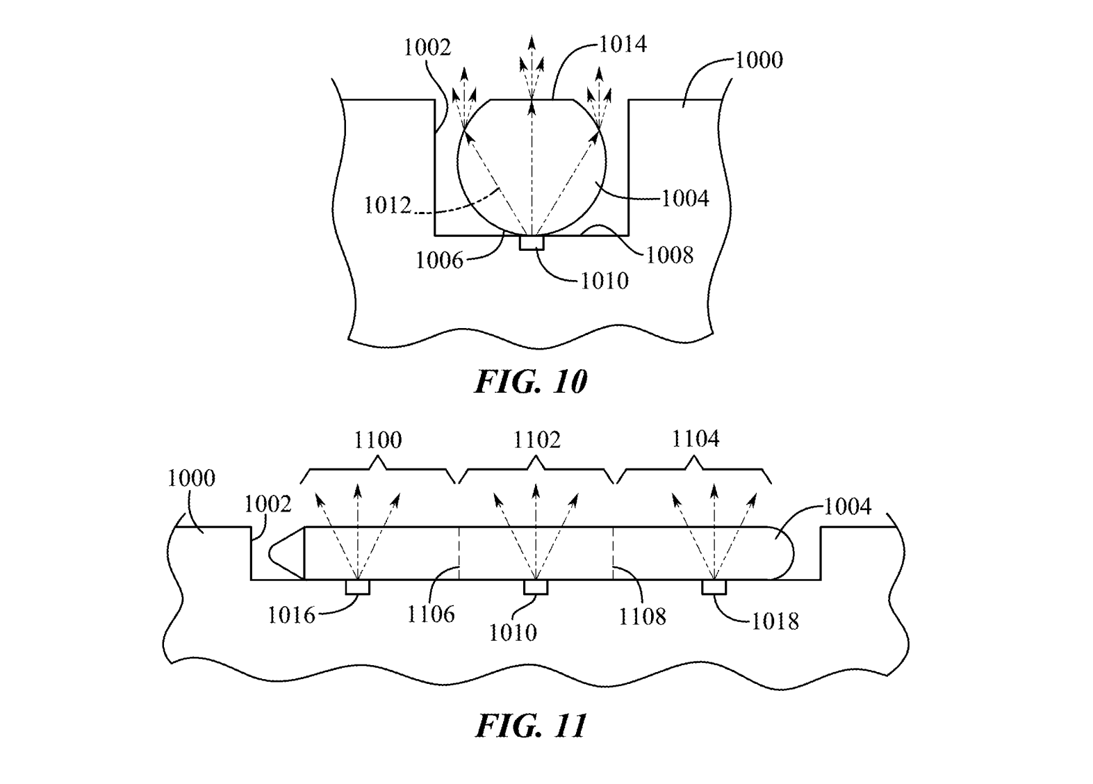
The patent filing shows an upgraded Apple Retainer which is able to place the Apple Pencil inside of the MacBook’s chassis above the keyboard and appears to serve a dual functionality.

US Patent 11,893,171 B2 - trademarked for Apple
When in its holder, the stylus serves as a replacement for Function keys, akin to the long-gone Touch Bar, with sides that include capacitive buttons that allow users to interact with to control different functions of the MacOS, as well as display relevant information to the user, these functions can allow the new Apple Pencil to be used as a new form of input device whether it is attached to the laptop or not.
Once the stylus is pulled out of its housing, that is where it gets to reinvent the MacBook experience; aside from the functional keys similar to Samsung’s S Pen, combined with a touch screen, the new Apple Pencil can have a similar use to a regular stylus for note-taking or art creating, but the patent also mentions a wireless use like a magic wand!
The tool also appears to have a set of sensors that allow the MacBook to detect it’s rotation, which might be used as a substitute for a mouse scrolling wheel, a volume controller or to control text input location on the screen according to Patently Apple, it adds that the stylus is suggested to have laminated sides that would illuminate the capacitive buttons and\or displayed information, with a software integration that would show status about the pen like it’s battery situation on the MacBook screen.

US Patent 11,893,171 B2 - trademarked for Apple
According to Ewan Spence from Forbes, the patent’s much more advanced feature set compared to the current Apple Pencil available for iPads suggests that it is more of a corporate tactic to cover potential future plans rather than an in-development consumer product that might be seen in MacBook releases anytime soon, however, Spence also adds that with Apple’s recent tactics to align the MacBook and iPad working experiences in recent updates, the decision to bring an Apple Pencil to the MacBook is not far-fetched.

